
京東方在每兩年就斥巨資擴張建廠的同時,所用的設備大部分都是從日本、韓國進口。為拿下蘋果這個大客戶,又花了約1.57億從韓國SNU進口蒸鍍設備。雖然目前京東方與這些設備供應商具有穩定的合作關系,但是一方面競爭對手也在韓國,另一方面,在國際貿易不容樂觀的大環境下,如果設備的控制權一直掌握在別的國家手中,那么技術OLED的技術再高超,也確實存在短板,風險很大。質疑者一方面處于技術的質疑,另一方也是對于每年京東方將營收的15%投入到研發經費和龐大的研發團隊的質疑。

京東方從1993年,從一個連續虧損7年的北京電子管(京東方前身),經過25年發展到今天,LCD出貨量第一,市場占有率達22.3%,實現AMOLED量產,打破三星壟斷,離不開資金的支持。京東方從2005年開始,重心往液晶面板業務轉移后,每年投入15%營收進行研發,并且京東方還處于嚴重的虧損狀態,到2015年,已經累計虧損了75億元,每年靠政府資金補貼,收到多方面質疑。而面對三星、LG已經實現研發、營收良性循環,京東方投入的研發似乎在背水一戰。
所幸京東方沒有辜負眾望,也用實際行動回復了這些質疑之聲。根據2018年,11月京東方公布的新專利來看,京東方除了在眾所周知已經攆上腳步的顯示器、OLED的設計制造技術上面繼續有突破外,還在顯示屏的蒸鍍技術上也開始了零突破,OLED技術又加籌碼。
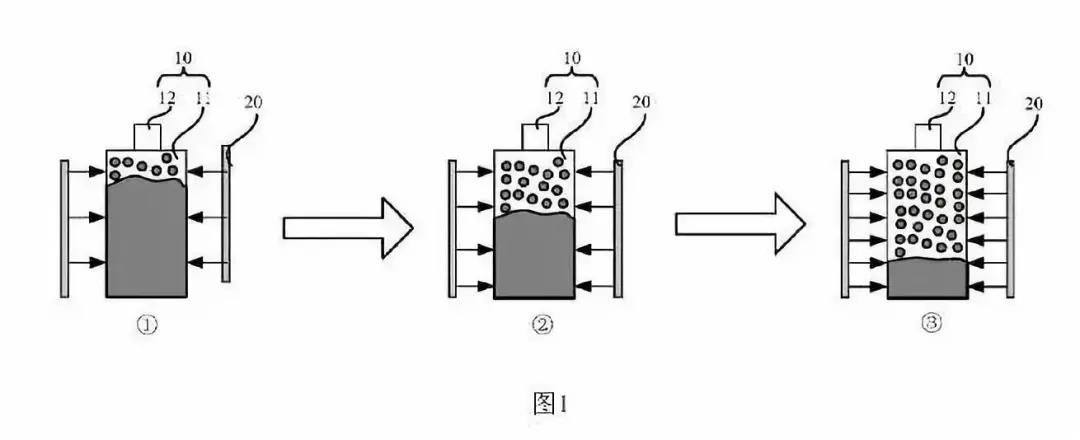
在這之前,我們先來簡單了解蒸鍍設備在一個顯示器和OLED制作工藝的重要性。蒸鍍其實類似于蒸發,只不過將水蒸氣換成要要加熱蒸鍍的材料,將蒸鍍材料熔化或者升華成原子、分子或者原子團的蒸汽,然后凝結到基板表面成膜,從而形成OLED器件,并且蒸鍍是在真空中進行。

其實一個顯示器的制造就是多個功能層的疊加,每一層實現的功能不同,最終呈現的就是一個完整的、非常薄的顯示屏,每一層的形成都需要用到蒸鍍技術。那么一個OLED屏幕,則需要經過低溫多晶硅(LTPS)、蒸鍍、封裝、單元、模塊等5個主要過程,這其中,蒸鍍過程則是這五塊工藝的核心工藝。
對于一個蒸鍍工藝來講,最重要的則是用于蒸發材料的蒸發源,那么蒸發源的能量更加有效、更加均勻則是重點。在2018年11月京東方公開的專利中,公開了一種蒸發源的改進技術,這種蒸發源經過京東方的設計,加上特有的調熱原件,大幅提高了蒸鍍精度。

其實2018年11月公布的蒸鍍設備已經趨向于成熟,早在京東方布局OLED屏的同時,在2009年與合肥合力建立了合肥鑫晟光電科技公司,這家公司除了經營薄膜晶體管液晶顯示器及配套產品以外,重心則是在蒸鍍設備的創新上。而京東方多數關于蒸發設備和蒸發源的技術積累,都是與合肥鑫晟合作進行。從兩家公司申請的關于蒸鍍設備和蒸發源專利公開時間來看,最早也是從2018年1開始的,也就是說,目前蒸鍍技術已經趨于成熟,未來京東方的蒸鍍設備將不再依賴日韓企業。
京東方液晶屏:http://www.www.flavcorporate.cn/BOE/
工業液晶屏:http://www.www.flavcorporate.cn